コンテンツへスキップ
香取広域市町村圏事務組合
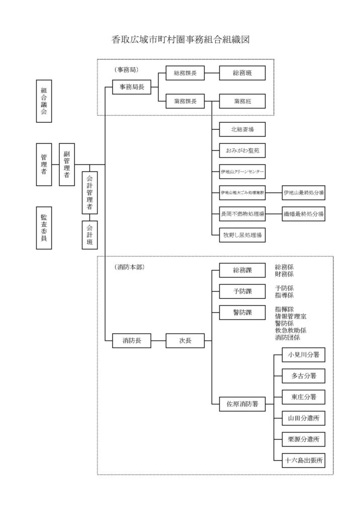
香取広域市町村圏事務組合は、千葉県香取市、神崎町、多古町及び東庄町の1市3町が設立している一部事務組合です。
メニューとウィジェット
HOME
組合の概要
事務局の業務
職員共同採用試験
広域市町村圏計画
職員共同研修
し尿処理
ごみ処理
火葬業務
施設の紹介
新廃棄物処理施設整備計画
火葬場
伊地山クリーンセンター
伊地山粗大ごみ処理施設
長岡不燃物処理場
伊地山最終処分場
第二伊地山最終処分場
織幡一般廃棄物最終処分場
牧野し尿処理場
消防本部
消防本部
消防採用試験情報
組織紹介
施設紹介
車両紹介
火災予防
講習会・試験
申請・届出書
例規集
消防年報
リンク集
組織紹介
PAGE TOP